w88win优德

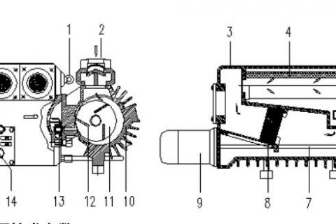
  • Õæ¿ÕÂËÓÍ»úÉϵ¥¼¶ÐýÆ¬Õæ¿Õ±Ã½á¹¹

    Õæ¿ÕÂËÓÍ»úÉϵ¥¼¶ÐýÆ¬Õæ¿Õ±Ã½á¹¹£º Õæ¿Õ±Ãƾ֤ÐýƬʽԭÀíÊÂÇ飬ƫÐÄ×°ÖõÄת×Ó£¨11£©ÔÚ±ÃÌ壨10£©ÄÚÐýת£¬ÀëÐÄÁ¦ÆÈʹҶ Ƭ£¨12£©ÑØ×Åת×Ó£¨11£©µÄÏÁ²Û»¬Ïò±ÃÌ壨10£©ÄÚ±Ú¡£Ò¶Æ¬£¨12£©½«±ÃÌ壨10£©ºÍת×Ó£¨11£© Ö®¼äµÄÔÂÑÀÐͿռäÍÑÀë³ÉÊý¸öÊÂÇéÇ»¡£µ±ÊÂÇéÇ»ºÍ½øÆø¿ÚÏàÁ¬Ê±£¬ÎüÈëÆøÌå¡£Ëæ×Åת×Ó£¨11£© µÄ¼ÌÐø×ª¶¯£¬±»ÎüÈëµÄÆøÌ屻ѹËõ£¬½ø¶øÅÅÈëµ½ÓÍÊèÉ¢Æ÷£¨3£©ÄÚ¡£ºã¶¨µÄѹÁ¦²îÊ¹Õæ¿Õ±ÃÈó »¬ÓͽøÈëѹËõÇ»¡£Èó»¬Óͺͱ»³éÆøÌåÒ»ÆðÅÅÈëÓÍÊèÉ¢Æ÷£¨3£©ÄÚ£¬Í¨¹ýÅÅÆø¹ýÂËÆ÷£¨4£©µÄ×÷Óà ʹµÃÓÍ¡¢ÆøÊèÉ¢£¬Èó»¬ÓÍ»ØÂäµ½ÓÍ…

    ÐÐÒµÐÂÎÅ 2025Äê3ÔÂ13ÈÕ
  • ÍÑË®ÂËÓÍ»ú¡ª¡ªÓÍÆ·ÉúÃüÖÜÆÚµÄÖ÷Ҫװ±¸

     ¡¡¡¡Ëæ×ÅÏÖ´ú¹¤ÒµµÄÉú³¤ºÍ×Ô¶¯»¯Ë®Æ½µÄÌá¸ß£¬»úеװ±¸ÔÚ¸÷Ðи÷ÒµÖж¼ÊÎÑÝ×ÅÖÁ¹ØÖ÷ÒªµÄ½ÇÉ«¡£ÔÚ¹¤ÒµÖÆÔìÖУ¬Èó»¬ÓÍ×÷ΪһÖÖ¾­³£Ê¹ÓõÄÒºÌ壬ʩչ×ÅÒªº¦µÄ×÷Óá£Èó»¬ÓͲ»µ«ÓÃÓÚ¼õÇá»úеÁã¼þµÄÄ¥Ë𣬻¹¿ÉÒÔ½µµÍÄÜÁ¿µÄÏûºÄ£¬Ìá¸ß»úеװ±¸µÄЧÂÊ¡£¿ÉÊÇ£¬³¤Ê±¼äµÄʹÓÃÀú³ÌÖУ¬Èó»¬ÓÍ»áÊܵ½ÖÖÖÖÎÛȾÎïµÄÈÅÂÒ£¬´Ó¶øµ¼ÖÂÓÍÆ·ÖÊÁ¿Ï½µ£¬Ê¹»úеװ±¸µÄʹÓÃÊÙÃüËõ¶Ì£¬½ø¶øÓ°Ïì¹¤ÒµÖÆÔìµÄÖÊÁ¿ºÍЧÂÊ¡£ ¡¡¡¡ÎªÏàʶ¾öÕâ¸öÎÊÌ⣬ÍÑË®ÂËÓÍ»úÓ¦Ô˶øÉú¡£ÍÑË®ÂËÓÍ»úÊÇÒ»ÖÖרҵµÄ»úеװ±¸£¬¿ÉÒÔÓÐÓõعýÂËÈó»¬ÓÍÖеÄÔÓÖʺÍË®·Ö£¬´Ó¶ø°ü¹ÜÓÍÆ·µÄÖÊÁ¿…

    ÐÐÒµÐÂÎÅ 2025Äê3ÔÂ13ÈÕ
  • ÏÈÈÝÈó»¬Ó͹ýÂË»úµÄ×÷ÓúÍÓ¦ÓÃÁìÓò

     ¡¡¡¡Èó»¬Ó͹ýÂË»úÊÇÒ»ÖÖרÃÅÓÃÓÚÓÍÆ·¹ýÂ˵Ä×°±¸£¬ÆÕ±éÓ¦ÓÃÓÚÖÖÖÖÈó»¬Ó͵ľ»»¯´¦Öóͷ££¬ÒÔ±ã°ü¹Ü»úеµÄÕý³£ÔËת¡£Èó»¬Ó͹ýÂË»ú¿ÉÒÔÓÐÓõØÈ¥³ýÒºÌåÖеÄÔÓÖÊ¡¢ÎÛȾÎïºÍË®·Ö£¬¼á³ÖÓÍÆ·µÄÇå½à¶ÈºÍÎȹÌÐÔ£¬ÑÓÉì»úеµÄʹÓÃÊÙÃü£¬Ìá¸ßÉú²úЧÂÊ¡£ÏÂÃæ½«ÏÈÈÝÆä×÷Óü°Ó¦ÓÃÁìÓò¡£ ¡¡¡¡Èó»¬Ó͹ýÂË»úÔÚ¹¤ÒµÉú²úÖÐÆð×ÅÖÁ¹ØÖ÷ÒªµÄ×÷Óã¬ÆäÖ÷ÒªÓÐÒÔϼ¸¸ö·½Ã棺 ¡¡¡¡È¥³ýÎÛȾÎïºÍÔÓÖÊ ¡¡¡¡ÓÉÓÚÊÂÇéÌõ¼þµÄÖØ´óÐԺͻúеÁã¼þÖ®¼äµÄĦ²Á£¬Èó»¬ÓÍÖлᱬ·¢´ó×ÚµÄÔÓÖʺÍÎÛȾÎÕâЩÎïÖÊ»á¶Ô×°±¸Ôì³ÉË𺦣¬ÉõÖÁµ¼Ö»úе·ºÆð¹ÊÕÏ¡£Èó»¬Ó͹ýÂË»ú¿ÉÒÔÓÐÓÃ…

    ÐÐÒµÐÂÎÅ 2025Äê3ÔÂ13ÈÕ
  • ͸ƽÓÍÂËÓÍ»úÓÃÀ´¹ýÂËÓÍҺȥ³ýÐü¸¡¿ÅÁ£¼°Ë®·Ö

     ¡¡¡¡Ëæ×Ÿ÷Ðи÷ÒµµÄ¿ìËÙÉú³¤£¬¹¤³Ì»úеÔÚÏÖ´ú»¯½¨ÉèÖÐÊÎÑÝ×ÅÖÁ¹ØÖ÷ÒªµÄ½ÇÉ«¡£Í¸Æ½ÓÍÂËÓÍ»ú×÷Ϊ¹¤³Ì»úеÁìÓòÖеÄÖ÷Ҫװ±¸£¬²»µ«Äܹ»ÓÐÓõذü¹Ü»úеװ±¸µÄÕý³£ÔËת£¬»¹Äܹ»Ìá¸ß×°±¸Ê¹ÓÃÊÙÃü¡£ ¡¡¡¡Í¸Æ½ÓÍÂËÓÍ»úµÄÖ÷ÒªÔ­ÀíÊǽÓÄÉÂËо¹ýÂË͸ƽÓÍ£¬²¢Í¨¹ýÇ¿ÖÆÑ­»·½«ÓÍÒºËÍÍùÊÜÓͲ¿Î»¡£Í¸Æ½ÓÍÂËÓÍ»úͨ³£ÓɹýÂËÆ÷¡¢ÓͱᢵçÄîÍ·¼°ÅþÁ¬ÊÜ·µÈ×é³É¡£ ¡¡¡¡Í¸Æ½ÓÍÂËÓÍ»úÆÕ±éÓ¦ÓÃÓÚÖÖÖÖ»úеװ±¸ÖУ¬ÌØÊâÊǹ¤³Ì»úеÁìÓò¡£ÔÚ×°±¸ÔËÐÐÀú³ÌÖУ¬Í¸Æ½ÓÍÂËÓÍÐÔÄܹ»ÓÐÓõعýÂËÓÍÒº£¬È¥³ýÐü¸¡¿ÅÁ£¼°Ë®·Ö£¬ïÔÌ­»úеװ±¸µÄÄ¥ËðºÍ¹ÊÕÏ£¬´Ó¶øÌá¸ßÁËÉè…

    ÐÐÒµÐÂÎÅ 2025Äê3ÔÂ13ÈÕ
  • Èó»¬Ó͹ýÂË»úµÄδÀ´Ô¶¾°Ô½À´Ô½ÁÉÀ«

     ¡¡¡¡Èó»¬Ó͹ýÂË»úÊÇÒ»ÖÖרÃÅÓÃÓÚ¹ýÂËÈó»¬Ó͵Ļúеװ±¸¡£ÆäÖ÷Òª×÷ÓÃÊǽ«Èó»¬ÓÍÖеÄÔÓÖÊ¡¢ÍÁÈÀ¡¢Ë®·ÖµÈÔÓÎï¾ÙÐйýÂË£¬´Ó¶ø°ü¹ÜÈó»¬Ó͵Ĵ¿¾»¶ÈºÍÁ÷¶¯ÐÔ£¬Ê¹ÆäÆðµ½ÓÅÒìµÄ·À¸¯¡¢·ÀÐâ¡¢È󻬵È×÷Óã¬Í¬Ê±Ò²¿ÉÒÔÑÓÉì»úеװ±¸µÄʹÓÃÊÙÃüºÍÌáÂÊ¡£ ¡¡¡¡ÏÖÔÚ£¬¹ýÂË»úÒÑÆÕ±éÓ¦ÓÃÓÚ¶à¸öÁìÓò£¬ÀýÈ磺»úе¹¤Òµ¡¢Ê¯»¯ÐÐÒµ¡¢Æû³µ¹¤Òµ¡¢Ò±½ðÐÐÒµµÈµÈ¡£ÔÚÕâЩÁìÓò£¬Èó»¬Ó͹ýÂË»úÆðµ½µÄ×÷ÓúÜÊÇÖ÷Òª£¬Ëü¿ÉÒÔÓÐÓõؾ»»¯Èó»¬Ó͵ÄÒòËØ£¬È¥³ýÆäÖеÄÎÛ¹¸£¬½µµÍ»úеװ±¸µÄ¹ÊÕÏÂʺÍάÐÞ±¾Ç®£¬Ìá¸ßÉú²úЧÂʺ;­¼ÃÐ§Òæ¡£ ¡¡¡¡³ý´ËÖ®Íâ¹ýÂË»úÉÐÓÐһЩԽ·¢ÆÕ…

    ÐÐÒµÐÂÎÅ 2025Äê3ÔÂ13ÈÕ
  • ͸ƽÓÍÂËÓÍ»ú¿ÉÒÔÖª×ã²î±ðÆ·ÖÊÒªÇóµÄÓÍÈó»¬

     ¡¡¡¡Ëæ×ÅÏÖ´ú¹¤ÒµµÄ¿ìËÙÉú³¤£¬»úеװ±¸µÄÊýÄ¿ºÍ¹æÄ£Ò²ÔÚÒ»Ö±À©´ó¡£ÆäÖУ¬Í¸Æ½»úÊÇÒ»ÖÖÖ÷ÒªµÄ×°±¸£¬Ëü±»ÆÕ±éÓ¦ÓÃÓÚÖÖÖÖÁìÓò£¬ÈçʯÓÍ»¯¹¤¡¢º½¿Õº½Ìì¡¢µçÁ¦µÈÐÐÒµ¡£Í¸Æ½»úµÄÔËתÀú³ÌÖУ¬ÐèÒªÓõ½ÓÍÈ󻬣¬¶øÓÍÈ󻬵ÄÇå½àˮƽ¶Ô»úеװ±¸µÄÕý³£ÔËתºÍÊÙÃüÆð×ÅÖÁ¹ØÖ÷ÒªµÄ×÷Óá£Òò´Ë£¬Í¸Æ½ÓÍÂËÓÍ»ú³ÉΪÁ˺ÜÊÇÖ÷ÒªµÄ×°±¸¡£ ¡¡¡¡ ¡¡¡¡Í¸Æ½ÓÍÂËÓÍ»úÊÇÒ»ÖÖרÃÅÓÃÓÚ͸ƽ»úÓÍÂ˺ÍÓÍÈ󻬵Ä×°±¸¡£¸Ã»ú½ÓÄÉÂ˲ĺÍÏȽøÊÖÒÕ£¬¿ÉÒÔÓÐÓõضÔ͸ƽ»úÓ;ÙÐÐÂËÇå¡¢ÍÑË®ºÍ³ýÔÓ£¬wanÈ«µÖ´ïÓÍÈó»¬Çå½à¶ÈµÄÒªÇó¡£°üÀ¨´ÖÂËÆ÷¡¢Ï¸ÂËÆ÷¡¢Î¢ÂËÆ÷ºÍϸÃܹýÂË…

    ÐÐÒµÐÂÎÅ 2025Äê3ÔÂ13ÈÕ
  • Èó»¬ÓÍÂËÓÍ»úÖúÁ¦±£»¤ÇéÐÎ

      ¡¡¡¡ÔÚÏÖ´ú¹¤ÒµÉú²úÖУ¬ÖÖÖÖ×°±¸ºÍ»úе¶¼ÐèҪʹÓÃÈó»¬ÓÍÒÔÈ·±£ËüÃǵÄÓÅÒìÔËÐС£È»¶ø£¬µ±Èó»¬ÓÍʹÓÃÒ»¶Îʱ¼äºó£¬»á·ºÆðһЩ»¯Ñ§×ª±äºÍÔÓÖʵĻýÀÛ£¬Õ⽫µ¼Ö»úеװ±¸µÄЧÂÊϽµ£¬ÊÙÃüËõ¶Ì£¬Í¬Ê±Ò²»á¶ÔÇéÐÎÔì³ÉÎÛȾ¡£ÎªÏàʶ¾öÕâÒ»ÎÊÌ⣬Èó»¬ÓÍÂËÓÍ»úÓ¦Ô˶øÉú¡£ ¡¡¡¡½üÄêÀ´£¬Ðí¶àÆóÒµºÍ³§¼Ò×îÏȽÓÄÉÈó»¬ÓÍÂËÓÍ»úÀ´Î¬»¤×Ô¼ºµÄ×°±¸ºÍ»úе£¬ÒÔÈ·±£ËûÃÇÄܹ»ÓÅÒìÔËÐУ¬Í¬Ê±Ò²ÎªÇéÐα£»¤¾¡Ò»·ÝÁ¦¡£Èó»¬ÓÍÂËÓÍ»úͨ¹ý½ÓÄɵĹýÂËÊÖÒÕ£¬×ÝȻʹÓÃÁËÒ»¶Îʱ¼ä£¬ÈÔ¿ÉÒÔ½«Èó»¬ÓÍÖеÄÔÓÖʹýÂ˵ô£¬´Ó¶øÑÓÉì»úеװ±¸µÄʹÓÃÊÙÃü£¬Ìá¸ßÆäʹÓÃЧÂÊ¡£…

    ÐÐÒµÐÂÎÅ 2025Äê3ÔÂ13ÈÕ
  • ͸ƽÓÍÂËÓÍ»úÌá¸ß»úеЧÂʵÄ×°±¸

      ¡¡¡¡Ëæ×Å»úеÐÐÒµµÄÒ»Ö±Éú³¤£¬¶Ô»úеװ±¸ÐÔÄܵÄÒªÇóÒ²Ô½À´Ô½¸ß¡£ÔÚ»úеÔËתÀú³ÌÖУ¬Í¸Æ½Ó͵Ä×÷ÓýûÖ¹ºöÊÓ¡£¿ÉÊdz¤Ê±¼äʹÓúó£¬Í¸Æ½ÓÍÖлáÀÛ»ý´ó×ÚµÄÔÓÖʺͳÁµíÎÑÏÖØÓ°Ïì»úеÔËתЧ¹û¡£ÎªÏàʶ¾öÕâÒ»ÎÊÌ⣬͸ƽÓÍÂËÓÍ»úÓ¦Ô˶øÉú¡£ ¡¡¡¡Í¸Æ½ÓÍÂËÓÍ»úÊÇÒ»ÖÖ¹ýÂËÓ͵Ä×°±¸£¬¿ÉÓÃÓÚ¹ýÂËÖÖÖÖÕ³¶ÈµÄ͸ƽÓÍ¡¢ÆûÂÖ»úÓÍ¡¢ÒºÑ¹Ó͵È¡£ËüµÄ×÷ÓÃÊǽ«Í¸Æ½ÓÍÖеÄÔÓÖʺͳÁµíÎï¹ýÂ˵ô£¬»Ö¸´Í¸Æ½Ó͵ÄÔ­ÓÐÐÔÄÜ¡£Í¬Ê±£¬ÂËÓÍ»ú»¹Äܹ»±£»¤»úеװ±¸£¬×èÖ¹ÔÓÖʶԻúеµÄË𺦡£   ¡¡¡¡½á¹¹½ÏÁ¿¼òÆÓ£¬ËüÓÉÂËо¡¢Â˱­¡¢ÂËÓͱᢵç»úµÈ×é³É…

    ÐÐÒµÐÂÎÅ 2025Äê3ÔÂ13ÈÕ
  • ¹ØÓÚÀ­ÉìÓ͵ÄһЩ֪ʶµã

    À­ÉìÓÍÊÇÒ»ÖÖÄÜÁ¿À­Ë¿À­ÉìÓÍ£¬²»º¬Â±ËØ¡¢ÁòµÈÓк¦ÔªËØ£¬ÌṩÓÅÒìµÄÓÍĤÈ󻬺ͼ«Ñ¹£¬ÄÜÔâÊܽðÊôÁ÷¶¯Ê±±¬·¢µÄ¸ßΡ£ÌØÊâÊÊÓÃÓÚÊÖ»úÂÁµç³Ø¿ÇµÄ³åѹ³ÉÐͺÍÂÁ²ÄµÄÀ­Éî³åѹ£¬Ò²¿ÉÓÃÓÚÍ­¡¢Ì¼¸Ö¡¢¸ßÄø¸ÖµÈÒ»Ñùƽ³£Ç¿¶ÈÖÊÁϵÄÀ­Éî¼Ó¹¤¡£   À­ÉìÓ͵ÄÌØµã   À­ÉìÓ;ßÓÐÒÔϵÄÌØµã:   1.¸ßÕ³¶È£¬°ü¹ÜÒ»Á¬ÓÐÓõÄÓÍĤºñ¶È£¬×èֹģ¾ß¾Ö²¿»®ÉË»òÉս᣻   2.¼«Ñ¹ºÍÄÍÄ¥ÐÔ£¬ÌØÊâÉè¼ÆÓÃÓÚ¼Ó¹¤¸ßÓ²¶ÈºÍÈÍÐԵIJ»Ðâ¸Ö£»   3.Èó»¬ÐÔÄÜ£¬Ê¹³åѹ¼âÈñµÄÇÐ¿ÚÆ½»¬£¬ïÔÌ­Ä£¾ßÄ¥ËðºÍ²úƷë´Ì£»·ÀÐâ…

    ÐÐÒµÐÂÎÅ 2025Äê3ÔÂ13ÈÕ
  • Ë®ÒÒ¶þ´¼¹ýÂËÔÓÖʵĹýÂË»úÓÐÊ²Ã´ÌØµã

    ҺѹÓÍϵͳµÄÏð½ºÃÜ·â¼þ´ó´ó¶¼ÄܺÍË®ÒÒ¶þ´¼ÏàÈÝ¡£ÆäÖеĺϳÉÏð½ºÈç¶¡ëæ¡¢¶¡õ¥¡¢¹èÏ𽺡¢·úÏ𽺵ÈÃÜ·â¼þÒÔ¼°ÄáÁú¡¢¾ÛËÄ·úÒÒÏ¡¡¢ËÜÁÏÖÆÆ·¾ùºÍË®ÒÒ¶þ´¼ÏàÈÝÐÔÓÅÒì¡£ ÔÚϸÃÜÓ͹ýÂË»úÖУ¬µ±Óû§Òª°ÑϸÃÜÂËÓÍ»úÄÃÈ¥¹ýÂËË®ÒÒ¶þ´¼µÄʱ¼ä£¬ÎÒÃÇÒ»Ñùƽ³£»á½¨ÒéÓû§Ñ¡ÔñÓÍ·²»Ðâ¸Ö£¬ÁíÍâ×°±¸µÄÃÜ·âÖÊÁÏÖ»¹ÜÑ¡Ó÷úÏð½ºÖá·â¡£ÕâÑù´îÅäÆðÀ´µÄË®ÒÒ¶þ´¼Ï¸ÃܹýÂË»ú²Å¸üÄ;ÃÄÍÓᣠˮÒÒ¶þ´¼¿¹È¼ÒºÑ¹ÒºÊÇÒ»ÖÖ¾ßÓÐÓÅÁ¼¿¹È¼ÐÔ£¬µÍÄýÐÔ¡¢Èó»¬ÐÔ¼°·ÀÐâÐԵĸßÇå½à¶ÈҺѹ´«¶¯½éÖÊ¡£ÈôÊÇÓÍÆ·±»ÎÛȾÁË£¬¶¨»áÓ°ÏìÓëÖ®¶ÔÓ¦µÄ×°±¸Ê¹ÓÃÊÙÃü£¬¹Ê£¬°´ÆÚʹÓÃË®ÒÒ¶þ´¼Èý¼¶Ï¸Ãܹý…

    ÐÐÒµÐÂÎÅ 2025Äê3ÔÂ13ÈÕ

·ÖÀà

ÁªÏµw88win优德

13452372176

¿É΢ÐÅÔÚÏß×Éѯ

ÊÂÇéʱ¼ä£ºÖÜÒ»ÖÁÖÜÎ壬9:30-18:30£¬½ÚãåÈÕÐÝÏ¢

QR code
ÍøÕ¾µØÍ¼